Computer >> कंप्यूटर ट्यूटोरियल >  >> स्मार्टफोन्स >> Google

रोल करने योग्य पिक्सेल:समाचार, मूल्य, रिलीज़ दिनांक, विशिष्टताएं और अफवाहें

स्क्रीन आकार के विस्तार के विकास में रोल करने योग्य फोन अनिवार्य हैं, और यह हो सकता है कि Google भविष्य में पिक्सेल बनाने का फैसला कैसे करे। हम अभी भी अफवाहों के चरण में हैं—वास्तव में, मूल रूप से शून्य अफवाहें हैं—लेकिन यह हमें यह अनुमान लगाने से नहीं रोकेगा कि पिक्सेल रोल कैसा हो सकता है।

रोल करने योग्य पिक्सेल कब जारी किया जाएगा?

यह अभी स्पष्ट नहीं है, लेकिन शायद पिक्सेल फोल्ड के जारी होने के बाद तक, कंपनी से अपेक्षित एक और स्क्रीन-विस्तार डिवाइस नहीं है। रोल करने योग्य फ़ोन को लाइनअप में जोड़ना काफी आक्रामक है।

साथ ही, नवीनतम समाचार जो इस डिवाइस के संभावित होने की ओर इशारा करते हैं, वह जून 2021 का एक ट्वीट है:

रॉस यंग डीएससीसी के साथ एक डिस्प्ले मार्केट एनालिस्ट हैं, जिन्होंने 2021 की शुरुआत में कहा था कि रोल करने योग्य फोन आ रहे हैं:

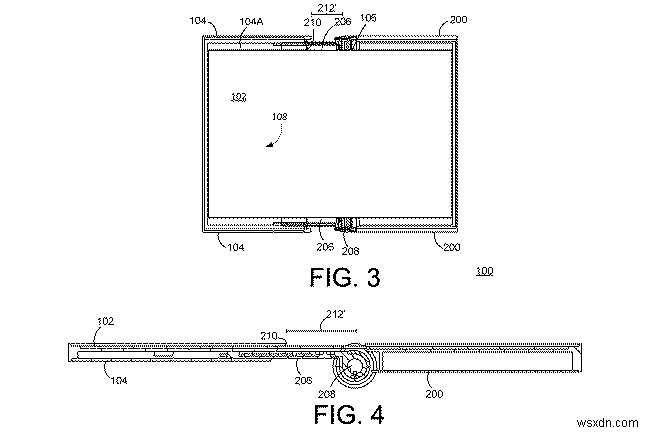
हम 2007 में दिए गए एक पेटेंट से यह भी जानते हैं कि Google की नज़र "रोल करने योग्य सामग्री वाले विस्तारणीय प्रदर्शन" पर है।

हालांकि वह विशेष आविष्कार कंप्यूटर स्क्रीन पर केंद्रित है, कुछ इसी तरह के फोन के लिए अनुकूलित किया जा सकता है, जो कि "लचीले डिस्प्ले वाले इलेक्ट्रॉनिक डिवाइस" के लिए 2020 में दिए गए पेटेंट में स्पष्ट है।

रोल करने योग्य पिक्सेल:समाचार, मूल्य, रिलीज़ दिनांक, विशिष्टताएं और अफवाहें

रिलीज़ दिनांक अनुमान

यह स्पष्ट है कि Google लचीले डिस्प्ले वाले उपकरणों पर काम कर रहा है, यह स्पष्ट नहीं है कि यह कब होगा। हम अभी के लिए रॉस यंग की कठिन भविष्यवाणी का पालन करेंगे और पिक्सेल रोल की रिलीज़ की तारीख 2022 के अंत या 2023 की शुरुआत में रखेंगे।

रोल करने योग्य पिक्सेल मूल्य अफवाहें

एक रोल करने योग्य फोन का परिणाम पूरी तरह से विस्तारित फोल्डेबल फोन के समान होता है, जहां, जब सभी स्क्रीन रियल एस्टेट खुली और रखी जाती है, तो आपके पास जो कुछ भी आप चाहते हैं उसे करने के लिए आपके पास अधिक ऑपरेटिंग कमरा होता है।

लेकिन एक फोल्डेबल फोन के विपरीत, जो सिर्फ... फोल्ड होता है, एक रोलेबल फोन स्क्रीन को उसकी विस्तारित स्थिति में धकेलने के लिए एक मोटराइज्ड मैकेनिज्म का उपयोग करता है। यह, इसके लचीले डिस्प्ले के साथ, फोल्डेबल डिवाइस में उपयोग किए जाने वाले हिंज की तुलना में निर्माण के लिए अधिक महंगा हो सकता है।

फिर से, कुछ फोल्डेबल फोन में कई डिस्प्ले होते हैं, जबकि एक रोल करने योग्य फोन सिर्फ एक बड़ी, लचीली स्क्रीन हो सकती है जो एक स्क्रॉल की तरह डिवाइस के शरीर से खुलती है।

दुर्भाग्य से हम उपयोगकर्ताओं के लिए, एक पारंपरिक फोन की तुलना में एक फोल्डेबल फोन पहले से ही अधिक महंगा है, इसलिए हमें रोल करने योग्य पिक्सेल के लिए भी अधिक खर्च करने की उम्मीद करनी चाहिए।


  1. iOS 14:अपेक्षित विशेषताएं, रिलीज की तारीख और सब कुछ जानने योग्य iOS 14:अपेक्षित विशेषताएं, रिलीज की तारीख और सब कुछ जानने योग्य

    Apple के पास सुर्खियों में आने का एक अनूठा आकर्षण है, चाहे वह नई घोषणाएँ करने के बारे में हो, नए उत्पादों को लॉन्च करने के बारे में हो, WWDC के आयोजन का एक अभिन्न अंग हो या कुछ भी हो। दुनिया भर के लाखों उपयोगकर्ता नए डिवाइस लॉन्च करने, नए सॉफ़्टवेयर अपग्रेड आदि के लिए अपनी आगामी योजनाओं के बारे में

  1. Apple iPhone SE2:विशेषताएं, रिलीज की तारीख और जानने के लिए बाकी सब कुछ Apple iPhone SE2:विशेषताएं, रिलीज की तारीख और जानने के लिए बाकी सब कुछ

    सहमत हों या न हों लेकिन हमेशा लाइमलाइट में बने रहने का एप्पल में एक अनोखा आकर्षण है। टेक हेडलाइन सेक्शन पहले से ही iPhone 12 अफवाहों, अपेक्षित विशेषताओं और संबंधित अटकलों से भरा हुआ है। और अब केक में एक चेरी जोड़ने के लिए, iPhone SE2 डिवाइस के इस वसंत में लॉन्च होने के बारे में स्रोतों से एक और सबसे

  1. Windows 12 - रिलीज़ दिनांक, सुविधाएँ, और वह सब कुछ जो हम अभी तक जानते हैं Windows 12 - रिलीज़ दिनांक, सुविधाएँ, और वह सब कुछ जो हम अभी तक जानते हैं

    12 अक्टूबर, 2021 को विंडोज 11 को लॉन्च हुए अभी एक साल भी नहीं हुआ है; विंडोज 10 की शुरुआत के लगभग छह साल बाद, विंडोज 12 की रिलीज पहले से ही दौर बना रही है। रिपोर्ट के अनुसार, माइक्रोसॉफ्ट एक नए विंडोज विकास चक्र में जाने का इरादा रखता है, जहां 2023 से शुरू होने वाले इन-मार्केट संस्करणों में नई सुविध